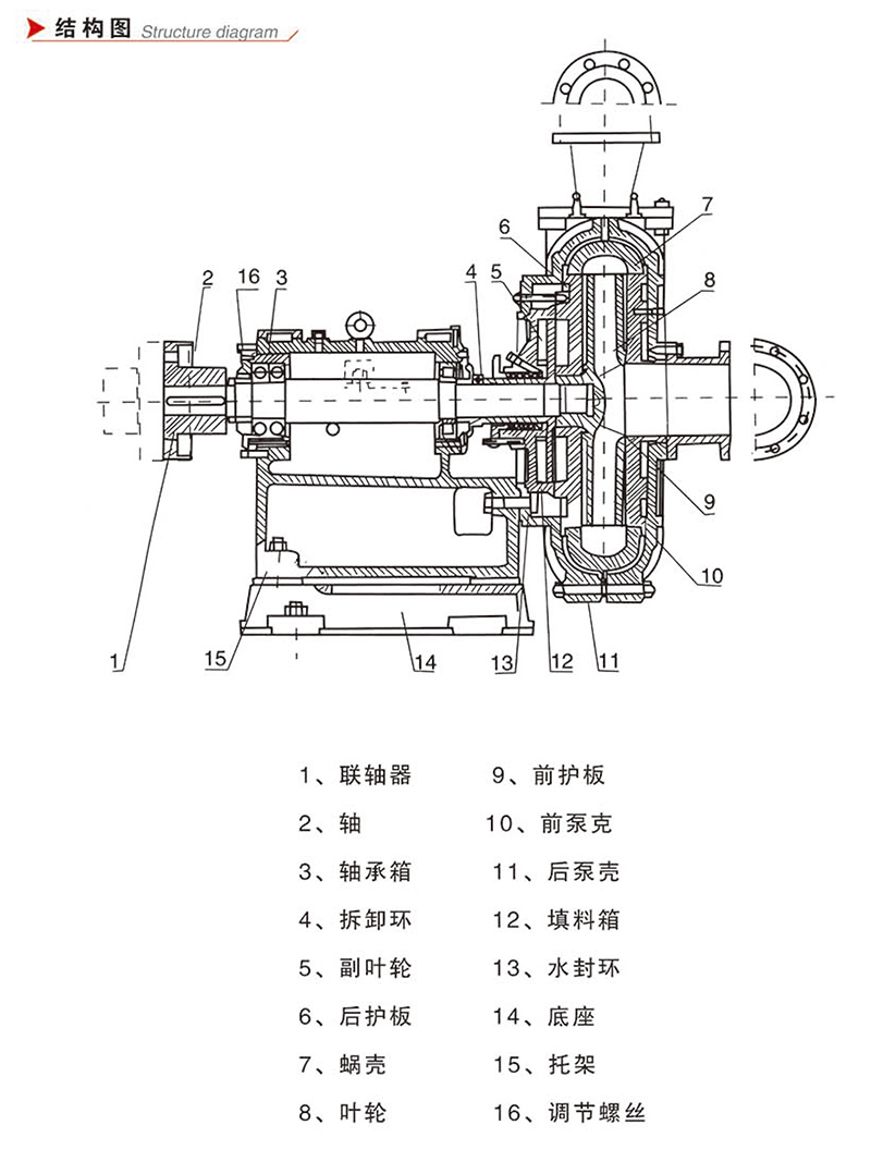
高效耐磨渣漿泵是單級單吸、軸向吸入懸臂離心泵,可廣泛用于治金、礦山、電力、煤礦、水利、化工、輕工、石油等部門輸送含有大量固體物料的磨蝕性或腐蝕性漿體。
GMZ型泵,過流部件采用高強度耐磨材質,適用于輸送強磨蝕、高濃度、大顆粒的渣漿,在泵的最大工作壓力范圍內,可以多級串聯使用。
GMZ型泵根據抽吸的介質不同,具有可互換的各種材質的過流部件,適用于輸送磨蝕性或腐蝕性、大顆粒或細顆粒漿體。
泵型號意義:
例:GMZ1 50-65-550
GMZ-高效耐磨渣漿泵
150-出口直徑(mm )
65-揚程值(m )
550-流量值(m3/h )














